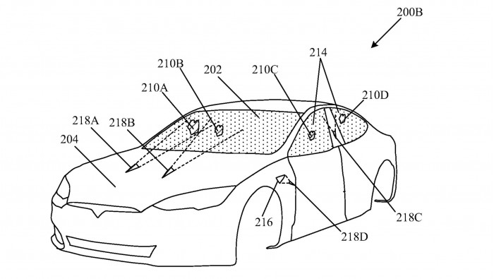
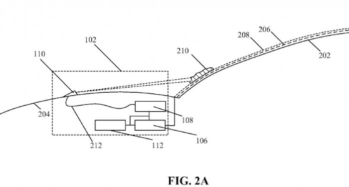
美国商标和专利局(USPTO)近日公示了一份特斯拉的激进专利:利用激光替代挡风玻璃雨刮器清理车辆外部的杂物。该专利的标题是“用脉冲激光清洁车辆和光伏组件的玻璃物品上积累的杂物”。根据该专利,激光束将作为“车辆的清洁设备,包括:被配置为发射激光束以照射安装在车辆上的玻璃制品的区域的光束光学组件”。特斯拉早在 2018 年就为基于激光的技术提交了专利申请,此前 Electrek 曾报道过这一情况。 在专利描述中写道: 一个用于车辆的清洁系统包括一个发射激光束以照射车辆玻璃制品上的一个区域的光束光学组件,检测该区域上积累的杂物的杂物检测电路,以及控制电路。控制电路根据对玻璃制品上该区域积累的杂物的检测,校准与光束光学组件发射的激光束有关的一组参数,根据与激光束有关的一组参数的校准,控制激光束对积累的杂物的曝光水平。其中,曝光水平的控制是基于以校准的速率脉冲激光束,该速率限制了激光束的穿透深度,该深度小于玻璃制品的厚度,并使用激光束清除玻璃制品上的区域所积累的杂物。Cybertruck 原型车没有任何挡风玻璃雨刷,当特斯拉申请这项专利时,有人认为这个疯狂的概念可能会装备在该车型上。然而,我们之前也报道过,特斯拉正在开发新的电磁雨刷,这种雨刷看起来很有未来感,但比激光束要现实得多。



 
                