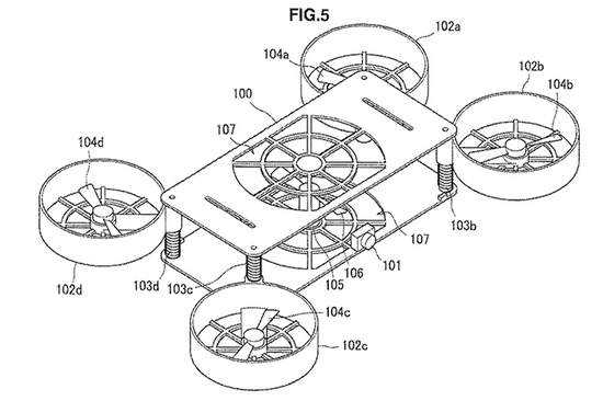
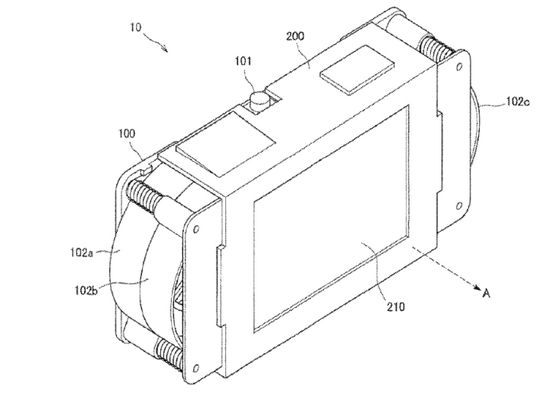
去年10月,一份曝光的专利显示,索尼正在研究无人机方面的技术,该专利描述了一种可折叠的无人机。机盖部分配备触摸屏,并且可拆卸,相机拥有Alpha系列的传感器技术,支持自动对焦和“ Eye-AF”功能局。但由于只是概念性的专利,可能只是为了技术储备,短时间内应该不会有产品面世。
索尼无人机专利文件
索尼无人机专利文件

但是,近日美国专利局公布的又一份文件显示,索尼更详细的介绍了这款无人机的工作原理,它将支持手势控制。

频频曝光的专利文件,或许意味着大法要来真的了,SONY牌的无人机,应该会很香吧?不过面对DJI在无人机领域的强势地位,索尼或许还有其它杀手锏。
