一直以来,苹果汽车都处于严格保密状态,外界对这款苹果公司有史以来最大的产品所知不多,甚至还怀疑它是否真的存在。
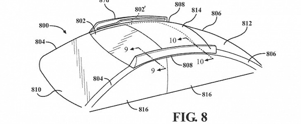
2022年2月1日,苹果获得一项汽车天窗的专利授权。专利显示,汽车天窗具有可调节的透明玻璃,司机可以选择调整天窗的透明度,另外这项技术也可用于汽车侧窗。

这项专利的名称是“可移动面板组件”。苹果公司再专利中解释道:“可变半透明区域随着可动面板组件从关闭位置向开放位置的移动而从变暗状态切换到变亮状态,而可变半透明区域随着可动面板组件从开放位置向关闭位置的移动而从变亮状态切换到变暗状态”。
此专利目的是让司机能够决定进入车内光线的多少,而不必打开天窗。不难想象,苹果汽车的天窗将可以通过CarPlay或Siri进行调整。
从这个专利也可以看出苹果汽车项目的确是真实存在,而根据此前的传言,苹果汽车将会在2025年正式推向市场。
文章来源:快科技
文章作者:流云
注 本文转载已注明出处, 仅供分享、学习,不构成商业目的,版权归原作者所有,如涉及作品内容版权或其它问题,敬请与本网联系,我们及时更正,谢谢合作!
