据报道,OpenAI近...
近日,IBM的科学家和研究人员在2020年共获得了9130项美国专...
在今年的CES2021上,TCL发布了第三代MiniLED显示技术--ODZer...
松下近日在2021消费电子展(CES)上发布消息称,将致力于开...
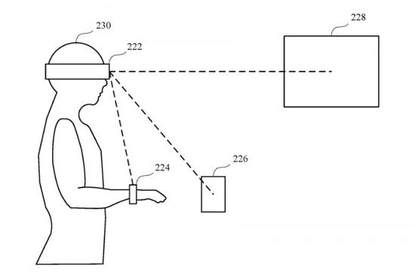
苹果即将推出的“AppleGlass”(苹果眼镜)可能会让用户跳过解...
网上传出,马斯克昨日清空了其在社交媒体Facebook上的全部内...
记者近日从朝阳区“两会”获悉,围绕中关村朝阳园、CBD、奥运...